Agrisem — Агризем запчасти, техника Accord — Аккорд запчасти, техника Agricola Italiana — Агрикола Итальяна запчасти, техника AGRIFAC — Агрифак запчасти, техника AG-BAG — Аг–Баг запчасти, техника Agrocom — Агроком запчасти, техника Agroliner — Агролайнер запчасти, техника Ag-Chem — Аг–Чем запчасти, техника Agromaster — Агромастер запчасти, техника AMAC — Амак запчасти, техника Amity — Амити запчасти, техника ANNABURGER — Аннабургер запчасти, техника ARAG — Араг запчасти, техника ARNTJEN — АРНТЬЕН запчасти, техника AVR — АВР запчасти, техника AZA-LIFT — Аза-Лифт запчасти, техника BASELIER — Базельер запчасти, техника Bergmann — Бергманн запчасти, техника Berthoud — Бертуд запчасти, техника Beinlich — Байнлих запчасти, техника BONDIOLI&PAVESY — БОНДИОЛИ ПАВЕСИ запчасти, техника Bogballe — Богбалле запчасти, техника BREDAL — Бредал запчасти, техника BobCat — Бобкэт запчасти, техника Bourgault — Борго запчасти, техника BRESTON — Брестон запчасти, техника Bremer — Бремер запчасти, техника Bressel — Брессел запчасти, техника Brandt — Брандт запчасти, техника BVL v mix — БВЛ в микс запчасти, техника Bondioli Pavesi — Бондиоли Павеси запчасти, техника Buhler — Бюллер запчасти, техника Bushchoff — Бушхофф запчасти, техника CASTROL — КАСТРОЛ запчасти, техника Capello Quasar — Капелло запчасти, техника Сaterpillar — Катерпиллер запчасти, техника Capello — Капелло запчасти, техника CanAgro — КанАгро запчасти, техника Caffini — Каффини запчасти, техника CELLI — Целли запчасти, техника CLAAS — Клаас запчасти, техника CLIMAX — Климакс запчасти, техника COMET — Комет запчасти, техника COMATSU — КОМАТСУ запчасти, техника CRAMER — Крамер запчасти, техника Crucianelli — Кручанелли запчасти, техника Challenger — Челленджер запчасти, техника Dammann — Дамманн запчасти, техника DELVANO — Делвано запчасти, техника DeLaval — ДеЛаваль запчасти, техника DEUTZ-FAHR — Дойц Фар запчасти, техника DeWulf — Де Вульф запчасти, техника DUBEX — Дубекс запчасти, техника Dondi — Донди запчасти, техника Eibock Eiboeck — Айнбок запчасти, техника Eillert — Эйлерт запчасти, техника Euro Jabelmann — Евро Ябельманн запчасти, техника Euro-Bagging — Евро Баггинг запчасти, техника Eima — Еима запчасти, техника Eisele — Айзеле запчасти, техника Ezee-on — Иззи Он запчасти, техника Farmtech — Фармтеч запчасти, техника FABDEC — ФАБДЕК запчасти, техника Fedele Mario — Феделе Марио запчасти, техника Fendt — Фендт запчасти, техника Fortschritt — Фортшритт запчасти, техника Franz Kleine — Франц Кляйне запчасти, техника FELLA — Фелла запчасти, техника Ferbo — Фербо запчасти, техника FlexiCoil — ФлексиКойл запчасти, техника Fliegl — Флигль запчасти, техника Fleetguard — Флитгард запчасти, техника Fiat — Фиат запчасти, техника GRASDORF WENNEKAMP — ГРАСДОРФ ВЕННЕКАМП запчасти, техника Geerlofs — Гирлофс запчасти, техника Geringhoff — Герингхофф запчасти, техника GRIMME — Гримме запчасти, техника GRUSE — Грузе запчасти, техника Gregoire Besson — Грегуар Бессон запчасти, техника Great Plants — Грейт Плантс запчасти, техника Hardi — Харди запчасти, техника HASSIA — Хассиа запчасти, техника HITACHI — ХИТАЧИ запчасти, техника HATZENBICHLER — Хатценбихлер запчасти, техника Hyundai — Хьюндай запчасти, техника Hawe — Хаве запчасти, техника HAWE Wester — ХАВЕ ВЕСТЕР запчасти, техника HORSTINE — Хорстайн запчасти, техника Holder — Хольдер запчасти, техника Holmer — Холмер запчасти, техника Horsch — Хорш запчасти, техника Irrimec — Ирримек запчасти, техника JANSEN&HEUNING — Янсен Хейнинг запчасти, техника Jacoby — Джакоби запчасти, техника Joskin — Ёскин запчасти, техника Jost Rockinger — Йост Рокингер запчасти, техника JF-STOLL — Штолль запчасти, техника JCB — Джей Си Би запчасти, техника IMAK — ИМАК запчасти, техника Kockerling — Koeckerling — Кёкерлинг запчасти, техника Kroeger — Kroger — Крёгер запчасти, техника Keulmac — Кейлмак запчасти, техника Kongskilde — Конгскайлд запчасти, техника Koningsplanter — Конингсплантер запчасти, техника KRONE — Кроне запчасти, техника Kramer — Крамер запчасти, техника KRAUSE — КРАУЗЕ запчасти, техника Kemper — Кемпер запчасти, техника Kotte — Коттэ запчасти, техника Kobelco — Кобелко запчасти, техника KUHN — Кун запчасти, техника Kubota — Кубота запчасти, техника Kuhn Huard — Кун Хуард запчасти, техника Lamborghini — Ламборджини запчасти, техника Landini — Ландини запчасти, техника Laverda — Лаверда запчасти, техника KVERNELAND — Квернеланд запчасти, техника LECHLER — Лехлер запчасти, техника LEHNER — ЛЕНЕР запчасти, техника LELY — Лели запчасти, техника LEMKEN — Лемкен запчасти, техника Mazotti — Мазотти запчасти, техника Mayer Siloking — Майер Силокинг запчасти, техника Matrot — Матро запчасти, техника MaterMacc — Матермакк запчасти, техника Manitou — Маниту запчасти, техника Manter — Мантер запчасти, техника MacDon — МакДон запчасти, техника Massey Fergusson — Массей Фергуссон запчасти, техника Monosem — Моносем запчасти, техника Mercedes Benz — Мерседес Бенц запчасти, техника Merlo — Мерло запчасти, техника MIEDEMA — Мидема запчасти, техника Mix Fordertechnik Foerdertechnik — Микс Фёрдертехник запчасти, техника MTZ — МТЗ запчасти, техника Niemeyer — Ниймейер запчасти, техника Murska — Мурска запчасти, техника Inuma — Инума запчасти, техника Oros — Орос запчасти, техника Outback — Оутбэк запчасти, техника Peecon — Пикон запчасти, техника Pottinger — Poettinger — POTTINGER — Пётингер запчасти, техника PACCIAMATRICE — Пакиаматрице запчасти, техника Pronar — Пронар запчасти, техника Petkus — Петкус запчасти, техника Ploeger — Ploger — Плёгер запчасти, техника RABE WERK — Рабе верк запчасти, техника PFEFFER GRANOMAT — ПФЕФФЕР ГРАНОМАТ запчасти, техника Raven — Равен запчасти, техника Rau — Рау запчасти, техника Rauch — Раух запчасти, техника Red Rok — Ред Рок запчасти, техника REEKIE — Рики запчасти, техника Ropa — Ропа запчасти, техника ROTOR — РОТОР запчасти, техника Romill — Ромилл запчасти, техника RUMPTSTAD — Румпштад запчасти, техника RVL — РВЛ запчасти, техника Riela — Рила запчасти, техника Same — Саме запчасти, техника SAMON — Самон запчасти, техника Sampo — Сампо запчасти, техника Salford — СЭЛФОРД запчасти, техника Samro — Самро запчасти, техника Sauer Burger — Сайер Бургер запчасти, техника Spudnik — Спудник запчасти, техника Sgariboldi — Сгариболди запчасти, техника Spra — Спра запчасти, техника Separ — Сепар запчасти, техника Separ 2000 — Сепар 2000 запчасти, техника Sunflower — Санфловер запчасти, техника Summers — Саммерз запчасти, техника SCHOUTEN — Шоутен запчасти, техника Schulte — Шульте запчасти, техника Shelbourne — Шелборн запчасти, техника Schmotzer — Шмотцер запчасти, техника Schaffer lader — Шаффер Лейдер запчасти, техника SIMON — Симон запчасти, техника Sip — Сип запчасти, техника STANHAY — Стенхей запчасти, техника STEKETEE — Стикити запчасти, техника STRUCTURAL — Структурал запчасти, техника Strom — Штром запчасти, техника Strautmann — Штраутман запчасти, техника Stoll — Столл запчасти, техника STRUIK — Струик запчасти, техника Tonutti — Тонутти запчасти, техника Sulky — Сулки запчасти, техника TAARUP — ТААРУП запчасти, техника Tadano — Тадано запчасти, техника Terrion — Террион запчасти, техника Teejet Centrline — Тиджет Центрлайн запчасти, техника TOLSMA TECHNIEK — Толсма запчасти, техника Tecnoma — Текнома запчасти, техника TRIOLIET — Триолет запчасти, техника Trimble — Тримбл запчасти, техника Underhaug TKS — Ундерхауг ТКС запчасти, техника Unia — Униа запчасти, техника Urban — Урбан запчасти, техника Vaderstad Vaederstad Vaderstad — Вадерштад запчасти, техника Valtra — Валтра запчасти, техника Vogel & Noot — Фогель унд Нут запчасти, техника VERVAET — Верват запчасти, техника VICON — Викон запчасти, техника WALTERSCHEID — Вальтершайд запчасти, техника Wil-Rich — Вил-Рич запчасти, техника Weidemann — Вайдеманн запчасти, техника Wuehlmaus — Вюльмаус запчасти, техника Wm-kartoffeltechnik — ВМ-Картоффельтехник запчасти, техника Wuhlmaus — Вульмаус запчасти, техника Zuern Zurn — Цюрн запчасти, техника Zunhammer — Цунхаммер запчасти, техника SHELL — ШЕЛЛ запчасти, техника DOMA — ДОМА запчасти, техника MARAL — МАРАЛ запчасти, техника DONALDSON — ДОНАЛЬДСОН запчасти, техника KIROVETS — КИРОВЕЦ запчасти, техника FIRESTONE — ФАЙРСТОУН запчасти, техника SCHUMACHER — ШУМАХЕР запчасти, техника STOLL-JF — ШТОЛЬ запчасти, техника CAMOPLAST — КАМОПЛАСТ запчасти, техника WOLAGRI — ВОЛАГРИ запчасти, техника BECKER — БЕККЕР запчасти, техника WELGER — ВЕЛГЕР запчасти, техника GRUSE — ГРУЗЕ запчасти, техника GEBO — ГЕБО запчасти, техника JACTO — ЖАКТО запчасти, техника AGREX — АГРЕКС запчасти, техника WKM — ВКМ запчасти, техника SFOGGIA — СФОДЖИЯ запчасти, техника MASCAR — МАСКАР запчасти, техника SEKO — ЗЕКО запчасти, техника MULTIAMOS — МУЛЬТИАМОС запчасти, техника ALPEGO — АЛЬПЕГО запчасти, техника TANZI — ТАНЗИ запчасти, техника AGROTOR — АГРАТОР запчасти, техника CAIMAN — КАЙМАН запчасти, техника AGROTOP — АГРОТОП запчасти, техника HONDA — ХОНДА запчасти, техника PERCINS — ПЕРКИНС запчасти, техника GEDORE — ГЕДОРЕ запчасти, техника Quivogne — КИВОНЬ запчасти, техника BISO — БИЗО запчасти, техника FANTINI — ФАНТИНИ запчасти, техника ZAFFRANI — ЗАФФРАНИ запчасти, техника STARA-BRAVA — СТАРА-БРАВА запчасти, техника EXPOM — ЭКСПОМ запчасти, техника BDM — БДМ запчасти, техника AMITY-TECHNOLOGY — АМИТИ-ТЕХНОЛОДЖИ запчасти, техника FLEXI-COIL — ФЛЕКСИ-КОИЛ запчасти, техника REPRODEX — РЕПРОДЕКС запчасти, техника M&W ERTHMASTER — М-В Ёрсмастер запчасти, техника BRILLION — БРИЛЛИОН запчасти, техника SAVANNA — САВАННА запчасти, техника SUPERTINO — СУПЕРТИНО запчасти, техника FAMAROL — ФАМАРОЛ запчасти, техника SIPMA — СИПМА запчасти, техника LUCLAR — ЛУКЛАР запчасти, техника NEW CONCEPT — НЬЮ КОНЦЕПТ запчасти, техника LMR-AZENE — ЛМР-АЗЕНЕ запчасти, техника MEPROZET — МЕПРОЗЕТ запчасти, техника DIECI — ДИЦИ запчасти, техника NECO — НЕКО запчасти, техника MONSUN — МОНСУН запчасти, техника MECMAR — МЕКМАР SCAFCO — СКАФКО запчасти, техника BARGAN MAC — БАРГАМ запчасти, техника KRUKOWIAK — КРУКОВИАК запчасти, техника LEVSAK — ЛЕВСАК запчасти, техника WEGA — ВЕГА запчасти, техника Hydromann — Гидроманн запчасти, техника NITRO — Нитро запчасти, техника Househam — Хаузем запчасти, техника MANN-FILTER — Манн-Фильтр запчасти, техника SEPAR-EVO — СЕПАР-ЭВО запчасти, техника DISTAR — ДИСТАР запчасти, техника HAMM — ХАММ запчасти, техника VOGELE — ФОГЕЛЕ запчасти, техника WIRTGEN — ВИРТГЕН запчасти, техника NTC — НТЦ запчасти, техника Bomag — Бомаг запчасти, техника Komatsu — Коматсу запчасти, техника Dressta — Дресста запчасти, техника Wirtgen — Виртген запчасти, техника Caterpillar — Катерпиллар запчасти, техника Hitachi — Хитачи запчасти, техника Liebher — Либхер запчасти, техника Fuchs — Фучс запчасти, техника Demag — Демаг запчасти, техника O&K — О К запчасти, техника Bobcat — Бобкэт запчасти, техника ABG — АБГ запчасти, техника Hatz — Хатс запчасти, техника Cummins — Кумминс запчасти, техника Volvo — Вольво запчасти, техника Daewoo — Дэу запчасти, техника Akerman — Акерман запчасти, техника SCANIA — Скания запчасти, техника DAF — ДАФ запчасти, техника MAN — МАН запчасти, техника TAM — ТАМ запчасти, техника Mercede — Меркеде запчасти, техника Iveco — Ивеко запчасти, техника MAZ — МАЗ запчасти, техника Kamaz — КАМАЗ запчасти, техника CAT — КЭТ запчасти, техника Takeuchi — Такечи запчасти, техника Mitsuber — Митсубер запчасти, техника Bacht — Бачт запчасти, техника Bleinroth — Блэйнрот запчасти, техника NETAGCO — НЕТАГКО запчасти, техника APULLMA — АПУЛЛЬМА запчасти, техника RIMECO — Римеко запчасти, техника CHD — ЦХД запчасти, техника BLANCHARD — Бланчард запчасти, техника BOMEC — Бомек запчасти, техника SAMSON AGRO A/S — Самсон Агро запчасти, техника KAWECO — Кавеко запчасти, техника GALICHO — Галичо запчасти, техника AGROMEHANIKA — Агромеханика запчасти, техника NOKKA-TUME — Нокка-Тьюм запчасти, техника EBERHARDT — Эберхардт запчасти, техника WOLWO — Вольво запчасти, техника McHALE — МакХейл запчасти, техника ORKEL — Оркел запчасти, техника JF — ДжиЭф запчасти, техника SMS CZ — СМС ЦЗ запчасти, техника ROLLAND — Ролланд запчасти, техника UNIFAST — Юнифаст запчасти, техника MARMIX — Мармикс запчасти, техника TATOMA — Татома запчасти, техника BIG DUTCHMAN — Биг Датчман запчасти, техника HELLMAN — Хеллман запчасти, техника LAKO — ЛАКО запчасти, техника HEKO KONRAD HENDLMEIER — Хеко Конрад Хендлмейер запчасти, техника MULLER ELECTRONIK — Мюллер Электроник запчасти, техника HMF HERMELER MASCHINENBAU — ХМФ Хермелер Маскиненбау запчасти, техника PTM s.r.l. — ПТМ с.р.л. запчасти, техника FRITZMEIER — Фрицмайер запчасти, техника PEJO — Пежо запчасти, техника Hoflader Thaler — Хофладер Талер запчасти, техника Wintersteiger — Винтерштайгер запчасти, техника PUTZMEISTER — ПУТЦМЕЙСТЕР запчасти, техника MECBO — МЕКБО запчасти, техника SCHWING — ШВИНГ запчасти, техника CIFA — ЦИФА запчасти, техника STETTER — ШТЕТТЕР запчасти, техника ELBA — ЭЛЬБА запчасти, техника CASAGRANDE — Касагранде запчасти, техника BAUER — БАУЭР запчасти, техника SOILMEC — СОИЛМЕК запчасти, техника LIEBHERR — ЛИБХЕРР запчасти, техника BROAT CARBIDE — Броат Карбиде запчасти, техника BETEK — БЕТЕК запчасти, техника ESCO — ЭСКО запчасти, техника Pirelli — Пирелли запчасти, техника Trelleborg — Треллеборг запчасти, техника MANN-HUMMEL — Манн-Хаммел запчасти, техника FLEETGUARD — ФлитГвард запчасти, техника HENGST, BALDWIN, SF-FILTER, MONARK, DONALDSON — ХЕНГСТ, БАЛДВИН, СФ-ФИЛЬТР, МОНАРК, ДОНАЛДСОН запчасти, техника AGRI — Агри запчасти, техника Danubiana — Данубиана запчасти, техника KIVI-PEKKA — Киви-Пекка запчасти, техника MAN — Мэн запчасти, техника VOLVO — Вольво запчасти, техника SCANIA — Скания запчасти, техника IVECO — Ивеко запчасти, техника MERCEDES BENZ — Мерседес Бенц запчасти, техника NOOTEBOOM — НоутБум запчасти, техника SCHMITZ — Шмитц запчасти, техника Allison Transmission — Алиссон Трансмишн запчасти, техника Atlet — Атлет запчасти, техника Autronic — Атроник запчасти, техника BEIFANG BENCHI — Бейфанг Бенчи запчасти, техника Bendix — Бендикс запчасти, техника Bobcat — Бобкэт запчасти, техника Bomag — Бомаг запчасти, техника Bosch — Бош запчасти, техника BOVA — БОВА запчасти, техника Bpw — Бпв запчасти, техника BT — БТ запчасти, техника Challenger — Челленджер запчасти, техника Clark — Кларк запчасти, техника Combilift — Комбилифт запчасти, техника CompAir — КомпЭйр запчасти, техника Crown — Кроун запчасти, техника Cummins— Цимминс запчасти, техника Daewoo — Дэу запчасти, техника Daf — Даф запчасти, техника Delphi — Делфи запчасти, техника Desta — Деста запчасти, техника Detroit Diesel — Детройт Дизель запчасти, техника Dong Feng — Донг Фенг запчасти, техника Dynapac — Динапак запчасти, техника Eaton — Итон запчасти, техника Etnyre — Итнир запчасти, техника Fenwick — Фенвик запчасти, техника Fermec — Фермек запчасти, техника Fiat — Фиат запчасти, техника Ford — Форд запчасти, техника Foton — Фотон запчасти, техника Fuchs — Фучс запчасти, техника Genie — Джени запчасти, техника GMC & Chevrolet — ГМК Шефроле запчасти, техника Halla — Халла запчасти, техника HC — ХЦ запчасти, техника Heli — Хели запчасти, техника Hidromek — Гидромек запчасти, техника Hino — Хино запчасти, техника Hitachi — Хитачи запчасти, техника Honda — Хонда запчасти, техника HOWO — Хово запчасти, техника HydraulicABS — ГидравликАБС запчасти, техника Hyster — Хистер запчасти, техника Hyundai — Хёндай запчасти, техника Ingersoll — Индерсолл запчасти, техника International Trucks — Интернешнл Тракс запчасти, техника IRIZAR — ИРИЗАР запчасти, техника Isuzu — Исизу запчасти, техника Iveco — Ивеко запчасти, техника JAC — Жак запчасти, техника Je-Lau — Джи-Лау запчасти, техника Jiangling Motors Co. (JMC) — Джианглинг Моторс Ко. (ДжМСи) запчасти, техника Jungheinrich — Джангхенрих запчасти, техника Kalmar — Калмар запчасти, техника Kenworth — Кенворт запчасти, техника Kobelco — Кобелко запчасти, техника Komatsu — Коматсу запчасти, техника Kubota — Кубота запчасти, техника Lafis — Лафис запчасти, техника Lamborghini — Ламборджини запчасти, техника Liebherr — Либхерр запчасти, техника Linde — Линде запчасти, техника LOC Warehouse Truck — ЛОК Вейрхаус Трак запчасти, Lohr — Лор запчасти, техника Mack — Мак запчасти, техника Man — Ман запчасти, техника Mark Truck — Марк Трак запчасти, техника Massey Ferguson — Массей Фёргусон запчасти, техника Mercedes — Мерседес запчасти, техника Meritor — Меритор запчасти, техника Mitchell — Митчелл запчасти, техника Mitsubishi — Митсубиши запчасти, техника MultiCar — Мультикар запчасти, техника NEF — НИФ запчасти, техника Neoplan — Неоплан запчасти, техника Nilfisk — Нилфиск запчасти, техника Nissan — Нисссан запчасти, техника Nyk-Nichiyu — Нук-Ничиу запчасти, техника Orenstein & Koppel — Оренштейн Коппел запчасти, техника Perkins — Перкинс запчасти, техника Pimespo — Пимеспо запчасти, техника Rammer — Раммер запчасти, техника Renault — Рено запчасти, техника Rocla — Рокла запчасти, техника Rolfo — Ролфо запчасти, техника Saf — Саф запчасти, техника Scania — Скания запчасти, техника Sisu — Сису запчасти, техника Sky Jack — Скай Джек запчасти, техника Spra-Coupe — Спра-Коуп запчасти, техника Steinbock — Штейнбок запчасти, техника STILL — Стилл запчасти, техника Tailift — Тайлифт запчасти, техника Tamrock — Тэмрок запчасти, техника TATA — ТАТА запчасти, техника TCM — ТиСиЭМ запчасти, техника Tennant — Теннант запчасти, техника Terex Atlas — Терекс Атлас запчасти, техника Thermo King — Термо Кинг запчасти, техника Toyota — Тойота запчасти, техника Trucktec — Труктек запчасти, техника Vogele — Вогеле запчасти, техника Voith — Войт запчасти, техника Volvo — Вольво запчасти, техника Wagner — Вагнер запчасти, техника White Planters — Вайт Плантерс запчасти, техника Wirtgen, Hamm, Voegele — Виртген, Хамм, Вогеле запчасти, техника Yale — Яле запчасти, техника YAM — Ям запчасти, техника Yanmar — Янмар запчасти, техника ZF — ЗФ запчасти, техника AcDelco — АкДелко запчасти, техника Acura — Акура запчасти, техника Alldata — Аллдата запчасти, техника ATSG — ЭЙТиСДжи запчасти, техника Audi, VW, Skoda, Seat — Ауди, ВВ, Шкода, Сит запчасти, техника Autodata — Автодата запчасти, техника AutoRobot — Авторобот запчасти, техника Bentley, Rolls-Royce —Бентли, Роллс-Ройс запчасти, техника BMW — БМВ запчасти, техника Bombardier — Бомбардир запчасти, техника Bosch, Zexel — Бош, Зексел запчасти, техника Caps — Капс запчасти, техника Chery — Чери запчасти, техника Chevrolet, Daewoo — Шевроле, Дэу запчасти, техника Chrysler — Крайслер запчасти, техника Citroen — Цитроен запчасти, техника Complete for Japan market — Комплит фор Джапан маркет запчасти, техника Daf — Даф запчасти, техника Daihatsu — Дайхатсу запчасти, техника Deer, Hower, Great Wall — Дир, Ховер, Грейт Валл запчасти, техника Defa — Дефа запчасти, техника Delphi — Делфи запчасти, техника Denso — Денсо запчасти, техника Evinrude/Johnson — Евинруд/Джонсон запчасти, техника Ferrari — Феррари запчасти, техника Fiat, Lancia, Alfa Romeo — Фиат, Лансиа, Алфа Ромео запчасти, техника Ford — Форд запчасти, техника General Motors — Дженерал Моторс запчасти, техника Hein-Werner — Хейн-Вернер запчасти, техника Honda — Хонда запчасти, техника Hummer — Хаммер запчасти, техника Hyundai — Хёндай запчасти, техника Isuzu — Исизу запчасти, техника Jaguar — Ягуар запчасти, техника KIA — КИА запчасти, техника LaserCat — ЛасерКэт запчасти, техника Land Rover — Лэнд Ровер запчасти, техника Lotus — Лотос запчасти, техника Maserati — Мазератти запчасти, техника Mazda — Мазда запчасти, техника Mercedes — Мерседес запчасти, техника Mercury — Меркури запчасти, техника Meyle — Мейле запчасти, техника MG — ЭмДжи запчасти, техника MGF — ЭмДжиФ запчасти, техника Mini — Мини запчасти, техника Mitchell — Митчелл запчасти, техника Mitsubishi — Митсубиши запчасти, техника Nissan, Infiniti — Ниссан, Инфинити запчасти, техника Opel — Опель запчасти, техника Peugeot — Пежо запчасти, техника Porsche — Порше запчасти, техника Range Rover — Рейндж Ровер запчасти, техника Renault, Dacia — Рено, Дасиа запчасти, техника Rover — Ровер запчасти, техника Saab — Сааб запчасти, техника Scion — Сцион запчасти, техника Ssang Yong — ССанг Янг запчасти, техника Subaru — Субару запчасти, техника Suzuki — Сузуки запчасти, техника TecDoc — ТекДок запчасти, техника TestBook — Тестбук запчасти, техника Tolerance — Толеранс запчасти, техника Toyota, Lexus — Тойота, Лексус запчасти, техника Volvo — Вольво запчасти, техника Wabco — Вабко запчасти, техника WorkShop — ВоркШоп запчасти, техника ZF — ЗФ запчасти, техника ABG — АБГ запчасти, техника BOBCAT — Бобкэт запчасти, техника BOMAG — БОМАГ запчасти, техника BRIGGS & STRATTON — БРИГГС СТРАТТОН запчасти, техника CHALLENGER — ЧЕЛЛЕНДЖЕР запчасти, техника CUMMINS — КУММИНС запчасти, техника DOOSAN (DAEWOO) — ДУСАН (ДЭУ) запчасти, техника DYNAPAC — ДИНАПАК запчасти, техника FIAT KOBELCO » — ФИАТ КОБЕЛКО запчасти, техника FUCHS / TEREX — ФУЧС/ ТЕРЕКС запчасти, техника HITACHI — ХИТАЧИ запчасти, техника KOBELCO — КОБЕЛКО запчасти, техника KOMATSU » — КОМАТСУ запчасти, техника KUBOTA — КУБОТА запчасти, техника LIEBHERR — ЛИБХЕРР запчасти, техника O&K — О К запчасти, техника PERKINS — ПЁРКИНС запчасти, техника TOYOTA — ТОЙОТА запчасти, техника VOLVO — ВОЛЬВО запчасти, техника YANMAR — ЯНМАР запчасти, техника USK 1 JOVARAS — УСК 1 ДЖОВАРАС запчасти, техника SKIOLD Group — СКИОЛД Груп запчасти, техника Vibromax — Вибромакс запчасти, техника Demag — Демаг запчасти, техника Terex — Терекс запчасти, техника Mix-foerdertechnik — микс-фордертехник запчасти, техника Daf — Даф запчасти, техника Renault — Рено запчасти, техника BPW — БПВ запчасти, техника SAF — САФ запчасти, техника ROR — РОР запчасти, техника SMB — СМБ запчасти, техника Trailor — Тейлор запчасти, техника Fruehauf — Фрухауф запчасти, техника KOGEL — КОГЕЛ запчасти, техника PMC — ПИЭмСи запчасти, техника FMC — ФЭмСи запчасти, техника Ploeger — Плеггер запчасти, техника MCCORMICK — МАККРОМИК запчасти, техника Stela — Стела запчасти, техника Wirtgen — виртген запчасти, техника Bussmann — Буссманн запчасти, техника CTP — СиТиПи запчасти, техника Cummins — Кумминс запчасти, техника Detroit Diesel — Детройт Дизель запчасти, техника ETP — ИТиПи запчасти, техника Jenbacher — Йенбахер запчасти, техника Hitachi — Хитачи запчасти, техника International — Интернашенл запчасти, техника Interpart — Интерпарт запчасти, техника KMP — КМП запчасти, техника Komatsu — Коматсу запчасти, техника Liebherr — Либхерр запчасти, техника Mack — Мак запчасти, техника PAI — ПАЙ запчасти, техника Perkins — Пёркинс запчасти, техника Rockwell — Роквелл запчасти, техника Siemens — Сименс запчасти, техника Neoplan — Неоплан запчасти, техника Setra — Сетра запчасти, техника Stinis — Стинис запчасти, техника Wilson — Вилсон запчасти, техника Willemsen — Виллмсен запчасти, техника Gmelin — Джмелин запчасти, техника Buschhof — Бушхоф запчасти, техника Tropper — Троппер запчасти, техника TADANO-FAUN — ТАДАНО-ФАУН запчасти, техника Staalkat — Стаалкат запчасти, техника Samsung — Самсунг запчасти, техника Atlas — Атлас запчасти, техника Teltomat — Телтомат запчасти, техника Fuchs — Фучс запчасти, техника Goldhofer — Голдхофер запчасти, техника Higer — Хигер запчасти, техника Furukawa — Фурукава запчасти, техника Fermec — Фермек запчасти, техника Schaeff — Шаефф запчасти, техника Hanomag — Ханомаг запчасти, техника LINDEN-COMANSA — ЛИНДЕН-КОМАНСА запчасти, техника SCHMITZ — ШМИТЗ запчасти, техника Lamberet — Ламберет запчасти, техника Hitachi — Хитачи запчасти, техника Grove — Грове запчасти, техника TCM — ТиСиЭм запчасти, техника Balkancar — Балканкар запчасти, техника Faun — Фаун запчасти, техника Langendorf — Лангердорф запчасти, техника Kato — Като запчасти, техника VolvoCE — Вольво ЦЕ запчасти, техника Krupp — Крупп запчасти, техника Linde — ЛИНДЕ запчасти, техника FIORI — ФИОРИ запчасти, техника Bobcat — Бобкэт запчасти, техника Shen Long — Шен Лонг запчасти, техника Fiat — Фиат запчасти, техника LiuGong — ЛьюГонг запчасти, техника Yutong — Ютонг запчасти, техника Kalmar — Калмар запчасти, техника Nissan — Ниссан запчасти, техника Volkswagen — Фолксваген запчасти, техника Changlin — Чанглин запчасти, техника Chereau — Чериай запчасти, техника DOOSAN — ДУСАН запчасти, техника Dressta — Дресста запчасти, техника Fermec — Фермек запчасти, техника Fruehauf — Фрухауф запчасти, техника Valmet — Валмет запчасти, техника Van Hool — Ван Хул запчасти, техника VOGELE — ВОГЕЛЕ запчасти, техника Setra — Сетра запчасти, техника Ikarus — Икарус запчасти, техника BAZ — БАЗ запчасти, техника LAZ — ЛАЗ запчасти, техника Bogdan — Богдан запчасти, техника PAZ — ПАЗ запчасти, техника Still — Стилл запчасти, техника Hyster — Хистер запчасти, техника Teufelberger — Теуфелбергер запчасти, техника TEWE Erntegarn — ТЕВЕ Ирнтегарн запчасти, техника Smipack — Смипек запчасти, техника Manter — Мантер запчасти, техника Tummers — Таммерс запчасти, техника Nastrino — Настрино запчасти, техника Saclark TK — Сакларк ТК запчасти, техника Upmann-Upmatic — Упменн-Упматик запчасти, техника NEWTEC — НЬЮТЕК запчасти, техника С-РАСК — Ц-Пак запчасти, техника TECHNOPACK — Технопак запчасти, техника AFFELDT — Аффелдт запчасти, техника EKKO — Экко запчасти, техника WIZARD — Визард запчасти, техника SORMA — Сорма запчасти, техника Skals — Скалз запчасти, техника Scantore — Сканторе запчасти, техника Formit — Формит запчасти, техника Scantore — Сканторе запчасти, техника Formit — Формит запчасти, техника Kronen — Кронен запчасти, техника Картофельная техника — запчасти, техника Комбайн — запчасти, техника Трактор — запчасти, техника Культиватор — запчасти, техника Плуг — запчасти, техника Распределитель — разбрасыватель мин. удобрений запчасти, техника Сеялка — запчасти, техника Овощная сеялка — запчасти, техника Жатки — запчасти, техника Опрыскиватели — запчасти, техника Система параллельного вождения — запчасти, техника Запчасти — запчасти, техника Фильтры — запчасти, техника Инструкции по технике — запчасти, техника Подержанная бу техника — запчасти, техника Каталог запасных частей — запчасти, техника Брошюры — Проспекты — запчасти, техника JJBROCH— ДЖЕЙ ДЖЕЙ БРОЧ (ХОТА ХОТА БРОЧ) JJ BROCH запчасти (запасные части), сельскохозяйственная техника Expom Aktywator запчасти (запасные части), сельскохозяйственная техника Swifter запчасти (запасные части), сельскохозяйственная техника Неттуно Nettuno запасные части (запчасти) – сельскохозяйственная техника оросительная техника б/у Irrigation-Systems.ru TL ТЛ оросительные системы для кругового полива Idrofoglia - Идрофоглия оросительные системы производство Италия Irrigation-Systems.ru Huedig Hudig – Хюдиг оросительные системы Irrigation-Systems.ru Pioggia carnevali оросительные системы Irrigation-Systems.ru Maschio Gaspardo - запчасти
Наш сайт не является публичной офертой, определяемой положениями Статьи 437 (2) ГК РФ., а носит исключительно информационный характер. Для получения точной информации о наличии и стоимости товара, пожалуйста, обращайтесь по нашим телефонам. В случае копирования, использования любого материала находящегося на сайте подшипники.рф , активная ссылка обязательна, в случае печати – печатная ссылка. Копирование структуры сайта, идей или элементов дизайна сайта строго запрещено. Права на все торговые марки, изображения и материалы, представленные на сайте, принадлежат их владельцам.
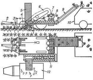
Свеклоуборочный комбайн
Свеклоуборочный комбайн , машина для механизированной уборки сахарной свёклы. С. к. подкапывает корни свёклы, выбирает их из почвы, обрезает ботву, собирает корни и ботву в бункера или грузит корни в рядом движущийся кузов тракторного прицепа или автомобиля, а ботву в тракторную тележку, прицепленную к комбайну.
В СССР работы по созданию С. к. начаты в 30-е гг. 20 в. Сначала была механизирована операция подкапывания корней. Для обрезки ботвы применяли ручные (переносные) станки. В 1934—38 механизирована выборка корней за ботву из почвы свеклокопателями, оснащенными теребильными аппаратами. В 40-х гг. начали применять рабочие органы для отделения ботвы от корней в машине. Первые С. к. были выпущены в 1949. В 50-х гг. изготовлены новые рабочие органы, обеспечивающие механизированную уборку свёклы; разработаны конструкции шнекового очистителя вороха корней и следящего устройства для направления С. к. по рядкам, что позволило автоматизировать управление машиной. Парк С. к. на конец 1973 составил 58 тыс. шт.
В СССР выпускают С. к. 2 типов, выполняющих технологический процесс по различным схемам: теребильные (КСТ-ЗА и КСТ-2А), которые обрезают ботву в машине после извлечения корней из почвы за ботву, и обрезающие ботву на корню, а затем извлекающие корни из почвы (СКД-2, СКН-2А и др.). Прицепной трехрядный теребильный комбайн КСТ-ЗА (рис.) предназначен для поточной или перевалочной уборки сахарной свёклы в основной зоне свеклосеяния. С. к., автоматически направляемый по рядкам свёклы, извлекает её из почвы, обрезает ботву и сбрасывает её в тракторную тележку, очищает ворох корней от почвы и растительных остатков и сбрасывает корни в кузов автомашины или прицепа. Комбайн КСТ-2А применяют для уборки свёклы в поливной зоне свеклосеяния. Он в значительной степени унифицирован с машиной КСТ-ЗА; отличается от неё расстановкой рабочих органов для одновременной уборки 2 рядков свёклы. Комбайн СКД-2 — двухрядный, прицепной, поточный, с последовательным расположением рабочих органов, предназначен для уборки сахарной свёклы в основной и поливной зонах свеклосеяния. Комбайн обрезает ботву на корню и сбрасывает её в кузов тракторной тележки; выкапывает корни свёклы и грузит их в транспортные средства. С. к. имеет ботвосрезающие аппараты, приёмный транспортёр ботвы, выкапывающее устройство в виде дисковых копачей, хорошо крошащих почву, что способствует очистке вороха, устройство для доочистки корней, элеваторы корней и ботвы, бункер для сбора ботвы и укладки её в поперечные валки, автоматическое гидроуправление и ручной корректировщик для установки копир-водителей гидроуправления при заездах в рядок. Рабочие органы всех С. к. приводятся в действие от вала отбора мощности трактора; обслуживают их тракторист и рабочий.
Создан комплекс машин для раздельной уборки сахарной свёклы, состоящий из ботвоуборочной машины БМ-6 и корнеуборочной машины КС-6. Машина БМ-6 убирает ботву с 6 рядков (междурядья 45 см) и грузит её в транспортные средства. Машина КС-6 (самоходная) убирает освобожденные от ботвы корни и грузит их в транспортные средства.
За рубежом производство С. к. началось в 50-х гг. Применяют, как и в СССР, С. к. 2 типов: обеспечивающие обрезку ботвы на корню и обрезку ботвы в машине после извлечения корней из почвы за ботву. В США выпускают одно-, двух-, трёх-
перехода к трёхфазной уборке сахарной свёклы (срезка и укладка ботвы, выкопка и укладка корней в валок и очистка корней). Это даёт возможность упростить конструкцию машин и агрегатировать их с маломощными тракторами.
Современные свеклоуборочные комбайны:
Самоходный свеклоуборочный комбайн BIG SIX
Свеклоуборочный комбайн Agrifac
Самоходный свеклоуборочный комбайн Кляйне
Предлагаем запасные части, комплектующие, сервисное, гарайтийное и постгарайтийное обслуживание a также б/у технику технику бывшую в употреблении.
Запасные части (запчасти) к сельхозтехнике, к сеялкам, плугам, тракторам, комбайнам, культиваторам, шнекам, разбрасывателям, прицепам, картофельной технике, опрыскивателям, фронтальным погрузчика, пресс-подборщикам, ворошилкам, дисковым боронам, глубокорыхлителям, телескопическим погрузчикам, свеклопогрузчикам, ботвоудалителям, жаткам, кормораздатчикам, кормосмесителям, аксессуары, масла, фильтры, прицепам, плющилкам, мельницам, косилкам:
Amity Wic — Амити Вик запчасти (запасные части), селькохозяйственная техника |Krone — Кроне запчасти (запасные части), сельскохозяйственная техника |Deutz Fahr — Дойц Фар запчасти (запасные части), сельскохозяйственная техника |LEMKEN — Лемкен запчасти (запасные части), сельскохозяйственная техника |Caterpillar Chalanger — Катерпиллар Челенджер запчасти (запасные части), сельскохозяйственная техника |KVERNELAND — Квернеланд запчасти (запасные части), сельскохозяйственная техника |Claas — Клаас запчасти (запасные части), сельскохозяйственная техника техника |KUHN — Кун запчасти (запасные части) , сельскохозяйственная техника |Vogel & Noot — Фогель унд Нут (Фогель Нот) запчасти (запасные части), сельскохозяйственная техника |IMAK — ИМАК запчасти(запасные части) , сельскохозяйственная техника |Manitou — Маниту запчасти (запасные части) , сельскохозяйственная техника |JCB — Джей Си Би запчасти (запасные части) , сельскохозяйственная техника |Ropa — Ропа запчасти (запасные части), сельскохозяйственная техника |JF-STOLL — Штолль запчасти (запасные части), сельскохозяйственная техника |Rauch — Раух запчасти (запасные части), сельскохозяйственная техника |Holmer — Холмер запчасти (запасные части), сельскохозяйственная техника |Monosem — Моносем запчасти (запасные части), сельскохозяйственная техника |HAWE Wester — ХАВЕ ВЕСТЕР запчасти (запасные части), сельскохозяйственная техника |Matrot — Матро запчасти (запасные части), сельскохозяйственная техника |Gregoire Besson — Грегуар Бессон запчасти (запасные части), сельскохозяйственная техника |Accord — Аккорд запчасти (запасные части), сельскохозяйственная техника |GRIMME — Гримме запчасти (запасные части), сельскохозяйственная техника |Mascar – Маскар запчасти (запасные части), сельскохозяйственная техника |Franz Kleine — Франц Кляйне запчасти (запасные части), сельскохозяйственная техника |Separ 2000 – Сепар 2000 фильтр сепаратор для очистки топлива |Fliegl — Флигль запчасти (запасные части), сельскохозяйтвенная техника |Murska — Мурска запчасти (запасные части), сельскохозяйсвтенная техника |CanAgro — КанАгро запчасти (запасные части),селькохозяйственная техника |Massey Ferguson – Массей Фергусон запасные части (запчасти) – сельскохозяйственная техника |Fendt – Фендт запасные части (запчасти) – сельскохозяйственная техника |Vaderstad – Вадерштад запасные части (запчасти) – сельскохозяйственная техника |Kinze – Кинзе запасные части (запчасти) – сельскохозяйственная техника |Asa Lift - Аза Лифт запасные части (запчасти) – сельскохозяйственная техника |Irriland - Иррилэнд запасные части (запчасти) – сельскохозяйственная техника |Dewulf -Девульф запасные части (запчасти) – сельскохозяйственная техника |Hatzenbichler -Хатценбихлер запасные части (запчасти) – сельскохозяйственная техника |Marani - Марани запасные части (запчасти) – сельскохозяйственная техника |Amac - Амак запасные части (запчасти) – сельскохозяйственная техника |Schmotzer - Шмотцер запасные части (запчасти) – сельскохозяйственная техника |AVR - АВР запасные части (запчасти) – сельскохозяйственная техника |Walterscheid - Вальтершайд запасные части (запчасти) – сельскохозяйственная техника |Irtec - Иртек запасные части (запчасти) – сельскохозяйственная техника |RM -РМ запасные части (запчасти) – сельскохозяйственная техника |Bauer - Бауэр запасные части (запчасти) – сельскохозяйственная техника |RKD - РКД запасные части (запчасти) – сельскохозяйственная техника |MTZ - МТЗ запасные части (запчасти) – сельскохозяйственная техника |Merlo – Мерло запасные части (запчасти) – сельскохозяйственная техника |Tecnoma – Текнома запасные части (запчасти) – сельскохозяйственная техника |Buhler – Бюлер запасные части (запчасти) – сельскохозяйственная техника |Ferbo – Фербо запасные части (запчасти) – сельскохозяйственная техника |Valtra – Вальтра запасные части (запчасти) – сельскохозяйственная техника Валтра |Pottinger (Poettinger) – Петтингер запасные части (запчасти) – сельскохозяйственная техника |Horsch - Хорш запасные части (запчасти) – сельскохозяйственная техника |Morris - Моррис запасные части (запчасти) – сельскохозяйственная техника |Bourgault – Борго запасные части (запчасти) – сельскохозяйственная техника |Great Plains – Грейт Плэйнс запасные части (запчасти) – сельскохозяйственная техника |Hagie - Хаги запасные части (запчасти) – сельскохозяйственная техника |Hardie – Харди запасные части (запчасти) – сельскохозяйственная техника |Vicon – Викон запасные части (запчасти) – сельскохозяйственная техника |Checchi & Magli – ЧЕЧЧИ МАГЛИ запасные части (запчасти) – сельскохозяйственная техника |Bondioli & Pavesi - Бондиоли Павеси запасные части (запчасти) – сельскохозяйственная техника |SULKY – Сулки (Сюлки) запасные части (запчасти) – сельскохозяйственная техника |CHALLENGER – Челленджер запасные части (запчасти) – сельскохозяйственная техника |Flexi-Coil – Флекси Коил запасные части (запчасти) – сельскохозяйственная техника |Matermacc - Матермак запасные части (запчасти) – сельскохозяйственная техника |Beinlich - Байнлих запасные части (запчасти) – сельскохозяйственная техника |Ocmis - Окмис запасные части (запчасти) – сельскохозяйственная техника |2IE - 2ИЕ запасные части (запчасти) – сельскохозяйственная техника |Irrifrance – Иррифранц запасные части (запчасти) – сельскохозяйственная техника |Dammann - Дамманн запасные части (запчасти) – сельскохозяйственная техника |Agricola Italiana - Агрикола Итальяна запасные части (запчасти) – сельскохозяйственная техника |Stanhay - Станхей запасные части (запчасти) – сельскохозяйственная техника |Unia - Уния запасные части (запчасти) – сельскохозяйственная техника |Pilmet - Пилмет запасные части (запчасти) – сельскохозяйственная техника |Sampo Rosenlew - Сампо Розенлев запасные части (запчасти) – сельскохозяйственная техника |RedBall-Редбалл запасные части (запчасти) – сельскохозяйственная техника |Jacto - Жакто запасные части (запчасти) – сельскохозяйственная техника |Samon - Самон запасные части (запчасти) – сельскохозяйственная техника |Eibock – Einboeck - Айнбек запасные части (запчасти) – сельскохозяйственная техника |Lindsay - Линдсей запасные части (запчасти) – сельскохозяйственная техника |Petkus - Петкус запасные части (запчасти) – сельскохозяйственная техника |Riela - Рила запасные части (запчасти) – сельскохозяйственная техника |Simon - Симон запасные части (запчасти) – сельскохозяйственная техника |Sipma - Сипма запасные части (запчасти) – сельскохозяйственная техника |Ag Bag - Аг Баг запасные части (запчасти) – сельскохозяйственная техника |Laverda - Лаверда запасные части (запчасти) – сельскохозяйственная техника |Koeckerling - Кекерлинг запасные части (запчасти) – сельскохозяйственная техника |Fantini - Фантини запасные части (запчасти) – сельскохозяйственная техника |Geringhoff - Герингхофф запасные части (запчасти) – сельскохозяйственная техника |Miedema - Мидема запасные части (запчасти) – сельскохозяйственная техника |Hassia - Хассия запасные части (запчасти) – сельскохозяйственная техника |Macdon - Макдон запасные части (запчасти) – сельскохозяйственная техника |Trimble - Тримбл запасные части (запчасти) – сельскохозяйственная техника |Reinke – Райнке запасные части (запчасти) – сельскохозяйственная техника |Cramer – Крамер запасные части (запчасти) – сельскохозяйственная техника |Valley Valmont - Валлей Валмонт запасные части (запчасти) – сельскохозяйственная техника |BVL v mix — БВЛ в микс запасные части (запчасти) сельскохозяйственная техника |AGRIFAC — Агрифак запасные части (запчасти) сельскохозяйственная техника |Agrisem — Агризем Агрисем запасные части (запчасти) сельскохозяйственная техника |Sfoggia – Сфоджия – запасные части (запчасти) сельскохозяйственная техника |BERGMANN - Бергманн запасные части (запчасти) сельскохозяйственная техника |PRONAR - Пронар запасные части (запчасти) сельскохозяйственная техника |Bogballe - Богбалле запасные части (запчасти) сельскохозяйственная техника |SUNFLOWER – Санфлавер запасные части (запчасти) сельскохозяйственная техника |Capello - Капелло запасные части (запчасти) сельскохозяйственная техника |Bredal - Бредал запасные части (запчасти) сельскохозяйственная техника |Запчасти – запасные части к плугам |Запчасти (запасные части) к опрыскивателям, навесным, прицепным, самоходным опрыскивателям |Запасные части (запчасти) Инума Inuma – сельскохозяйственная техника |Запасные части (запчасти) Гризли Grizzly – сельскохозяйственная техника, дисковая тяжелая борона |Запасные части (запчасти) для дисковых борон, дискаторов |Запасные части (запчасти) для культиваторов |Запасные части (запчасти) Quivogne – КИВОНЬ Prosem Sola Прозем Сола сельхозтехника |Запасные части (запчасти) для Тракторов |Запасные части (запчасти) для Комбайнов зерноуборочных |Запасные части (запчасти) для Комбайнов свеклоуборочных |Запасные части (запчасти) для Прицепов |Запасные части для картофельной техники |Crucianelli Кручанелли запасные части сельхозтехника, сеялки |Maschio Gaspardo - запчасти
Быстрая доставка запасных частей (запчастей), аксессуаров, оригинальные запасные части (запчасти) и производства сторонних заводов. Быстрая доставка запасных частей – своевременное получение запчастей – гарантированный успех производства!
Картофелеуборочный комбайн Зерноуборочный комбайн Свеклоуборочный комбайн Морковоуборочный комбайн Горохоуборочный комбайн Плуг Культиватор Распределитель минеральных удобрений Разбрасыватель минеральных удобрений Навесной опрыскиватель Самоходный опрыскиватель Культиватор междурядной обработки Колесный трактор Гусеничный трактор Овощная сеялка Пропашная сеялка Зерновая сеялка Сеялка для прямого сева Пневматическая сеялка Механическая сеялка Ротационная вертикально-фрезерная борона Дисковая борона Приемный бункер Поливалка насосы Гребнеобразователи рыхлители Рассадопосадочные машины Картофельные сажалки Косилки Глубокорыхлители Кормоуборочные комбайны Грабли Ворошилки Телескопические погрузчики Самоходные косилки Самоходные жатки Жатки кукурузые Жатки универсальные Полевые катки Пресс-подборщики Фронтальные погрузчики Измельчители Ботвоудалители Транспортеры Наполнители контейнеров Смесители кормораздатчики Рулонные пресс-подборщики Резцовые косилки Поворотные и дисковые косилки Измельчители пожнивных остатков Ботводробители Бульдозер Картофелесажалки Копалки Плющилки зерна Мельницы Плющение зерна и закладка в рукава Чизель Буртоукладчик Штабелеры Крот Скутер Однорядный комбайн Двухрядный комбайн Стерневая сеялка Культиватор предпосевной Шнеки-перегружатели Прицепы-перегружатели зерна Сушилки зерна Сортировочные столы Тракторы с ломающейся рамой Косилки с плющилкой Штригель Зубчатая борона Телескопический погрузчик Луковая копалка Луковый ботводробитель Грядообразователь Гребнеобразующая фреза Грядкоделатели Сетчатая борона Зерносушилки Зернопогрузчики Картофелесажалки Силосоуборочные машины Послеуборочная обработка овощей Послеуборочная обработка картофеля Свекловичная сеялка Машины для внесения жидких минеральных удобрений Протравливатели семян Кукурузные сеялки Дождевальные машины Насосные станции Корнеуборочная машина Бульдозер Грейдер Самосвал Прицеп Прореживатель Транспортер-загрузчик Контейнеры Ящики Ковш Вилы Сортировка лука Мобильные комбикормовые заводы Силосные пресса Перегрузчики Дорожно-строительная техника Катки Разгрузчики мешков Чизели Зерноперегрузчики Подъемник больших мешков бигбэг Погрузчик мешков «Биг Бэг» манипулятор Шнек для удобрений КРАН-ЗАГРУЗЧИК БОЛЬШИХ МЕШКОВ УДОБРЕНИЙ Мини-погрузчики Передвижные шнеки Складская техника Складское оборудование для картофеля Рассадопосадочная машина Техника для картофеля и овощей Двойной удлинительный транспортер Мойка и сушка картофеля Пробоотборник Система параллельного вождения Почвоотборники Подруливающее устройство и автопилот Бочки для воды Бочки для навозной жижи Сепараторы для разделения насоса Погружные мешалки Высоконапорные насосы Тележки для перевозки жаток Подборщик – накопитель Разрыватели тюков Выдуватели соломы Стогометы Садовые опрыскиватели Мульчировщики Зернометатели Дорезатели Прицеп-цистерны Устройство для укладки плёнки Ботвоуборочная машина Дефолиатор Дисковая борона Дискатор Глубокорыхлитель Калибровщики Палетоукладчики Почвоотделители Клипсатор Фасовочная машина Компрессор дизельный передвижной Картофелекопатель Стол рапсовый Приставка для уборки сои и гороха Обмотчики рулонов Обмотчики тюков Пленка Миксеры Сушилки МАШИНЫ ДЛЯ РАЗМЕТКИ ДОРОГ АСФАЛЬТОУКЛАДЧИКИ КАТКИ ДОРОЖНЫЕ ФРЕЗЫ РУЧНЫЕ ВИБРОКАТКИ ВИБРОПЛИТЫ ВИБРОТРАМБОВКИ НАРЕЗЧИКИ ШВОВ Грейдеры Прицеп распределитель соломы Пумповая бочка Вакуумная бочка Борона прутковая Борона тяжелая Счесывающая жатка Корчеватель Разгрузочная лента Ботвосрезатель Комбайн для сбора овощей Консоли Дождевальные машины барабанного типа Сельскохозяйственные шины для тракторов, комбайнов, сеялок, культиваторов Камнеуборочные машины Прополочные бороны Обмотчик рулонов Все виды техники Опрыскиватели навесные Прочая прицепная техника Сменная жатка Обмотчики рулонов Прочая строительная техника Прочая почвообрабатывающая техника Разбрасыватель минеральных удобрений Комбинированные бороны Сеялки точного высева Фрезы, роторные культиваторы Ковши для фронтальных погрузчиков / Доп. оборудование Фронтальные погрузчики Кормозаготовительная техника Кормораздатчики-смесители Вилочный погрузчик (штабелеукладчик) Пресс для больших тюков Культиватор Техника для внесения навозной жижи Дополнительное оборудование для кормоуборочного комбайна Ножницы для подрезки живых изгородей Сеноуборочная техника Мини трактор-погрузчик для внутрихозяйственных работ Деревообработка Дровоколы (колуны) (машины для расщепления древесины) Картофелеуборочные комбайны Картофельная техника Подметательно-уборочные машины (техника для коммунального хозяйства) Ротационные бороны Прицепы Зерноуборочный комбайн Дополнительное оборудование для зерноуборочных комбайнов Прочая кормоуборочная техника Доильная аппаратура, холодильные, очистительные установки Мульчировщик Катки Посадочная техника Плуги Прессовальные аппараты Колеса/шины Погрузчик колесный Газонокосилка (бензин) Другая садово-парковая техника Техника для очистных работ Корчеватель (копатель) Рулонные пресс-подборщики Пилы Сеялки Дисковые бороны Трактор Дополнительное оборудование для тракторов Валкообразователь Универсальные буровые установки Выемка силоса Прочая техника Разбрасыватель навоза Телескопический погрузчик Кормоуборочная техника Пресс Техника для транспортировки Прицеп для перевозки измельченного корма Прицеп/ самосвал Почвообработка Техника для почвообработки Уплотняющие катки Плуги Предпосевная обработка почвы Катки и уплотнители Техника для посева/рядовые сеялки Механические сеялки Пневматические сеялки Сеялки точного высева Посев Посев с мульчированием Рядовой посев Защита растений Разбрасыватели минеральных удобрений Оборудование для защиты растений Прицепные полевые опрыскиватели Техника для внесения навозной жижи Разбрасыватели навоза Универсальные разбрасыватели Техника для внесения навозной жижи Картофельная техника Кормозаготовительная и кормораздаточная техника Машина для выемки силоса (блоков) Машины для выемки силоса Техника для выемки силоса/кормораздатчики Кормораздатчики-смесители Tехника для коммунального и лесного хозяйства Малогабаритная техника Жатки для уборки подсолнечника Кукурузные жатки Вычесывающие жатки Фильтры-сепараторы Топливные сепараторы Датчики Сортировочный стол Фасовочные машины Клипсатор Ленточный транспортер Культиватор Запасные части для дорожно-строительной техники Запасные части для лесозаготовительных машин Запасные части для легковых автомобилей Запасные части для грузовых автомобилей Запасные части для сельскохозяйственной техники Дождевальные машины барабанного типа Карьерной технике Автокран Комбайны DMM, Moty Комбайн для уборки тыквы Комбайны для сбора семенной и сладкой кукурузы Самоходный погрузчик-очиститель для сахарной свеклы Комбайн для уборки сахарной свеклы БЕТОНОСМЕСИТЕЛЬ ВИБРОПЛИТА ДОРОЖНАЯ ТЕХНИКА ГРУНТОВЫЕ КАТКИ ГУСЕНИЧНЫЕ ЭКСКОВАТОРЫ ПРОКЛАДЧИКИ КАБЕЛЯ ЦЕМЕНТОВОЗ Карьерные комбайны Распределители вяжущих материалов Дробильно-сортировочное оборудование Ресайклеры Мусоровозы с задней загрузкой Машины вакуумные Техника на тракторе МТЗ Бункеровозы Машины аварийно-ремонтные Машины каналопромывочные Машины илососные Машины поливомоечные и пескоразбрасывающие (комбинированные) Мусоровозы с боковой загрузкой Автобитумовозы, автогудронаторы Автогидроподъемники Автогрейдеры Автокраны Авторастворовозы Автосмесевозы Автоцистерны и топливозаправщики Асфальтоукладчики Баровые машины Бетононасосы Бетононасосы стационарные Бетоносмесители на полуприцепе Бетонораздатчики Бетоносмесители Бортовые автомобили Бульдозеры Бульдозерно-рыхлительное оборудование Бурильные машины Бурильно-крановые машины Бурильно-сваебойные машины Винтовые сваи и анкеры Машины шнекового бурения Буровые установки Вахтовые автобусы Вездеходная техника Землеройная техника Катки дорожные Коммунальная техника Вакуумные машины Мусоровозы Компрессорные станции, компрессоры Краны строительные Манипуляторы Погрузчики вилочные Погрузчики фронтальные Мини-погрузчики Полуприцепы Самосвалы Седельные, лесовозные и трубовозные тягачи Снегоочистители Снегопогрузчики Спецтехника для нефтегазового комплекса Тракторы Мини-тракторы Трубоукладчики Установки насосные Фрезы Экскаваторы Сменное рабочее оборудование для экскаватора Экскаваторы-бульдозеры Экскаваторы-планировщики Навесное оборудование Башенные краны Грейдеры Экскаваторы-погрузчики Траншейные экскаваторы Краны-трубоукладчики Катки дорожные Коммунальная техника Посевные комплексы Яйцесортировочные и упаковочные машины Молотковые дробилки Мельницы мобильные Распределители органических удобрений Инструменты Трансмиссия Гидравлика Пневматика Комбайн для уборки ягод Руководство по эксплуатации Справочники Техника для складирования и транспорта зерна Транспортная техника Садоводческая техника Пресс-подборщики Вязальный шпагат Клипсатор полуавтоматический (для упаковки овощей и корнеклубнеплодов в сетку) Пневматические клипсаторы – полуавтоматы Автоматический клипсатор Машина фасовочно-упаковочная Упаковочная машина Электронный дозатор Мойка и сушка овощей Установка взвешивания и затаривания Упаковка овощей Термоусадочные машины Упаковочная машина Весовая и упаковывающая линия для фруктов и овощей Компьютерная весовая станция Расфасовочные весы Моечная машина Питающий бункер Jasa 350 Автоматическая машина для упаковки картофеля Ручная и полуавтоматическая фасовка Сетки-рукава вязаная Электронный дозатор Nastrino Весовой дозатор AVN 112-CW 10EV 12EVG EVK EVKN EVA Оборудование для дозирования и упаковки в сетку-рукав Упаковочные машины Мойка и сушка овощей от Tummers Упаковка овощей Manter Термоусадочные машины Smipack серии SL Упаковочная машина SWIFT Опрокидыватель контейнеров KT 1000 Приёмный бункер АВМ 427 Щеточная машина для сухой мойки картофеля ВМ Сортировочная машина SK 603 + роликовый инспекционный стол RBP814 Расфасовочная машина АМ322/25 380V Расфасовочная машина АМ315 Моечная машина VT715 Kegelboden Роликовый инспекционный стол RB1025 Роликовый инспекционный стол RB1230 Расфасовочный узел AV 418 Установка взвешивания и затаривания Предварительная очистка от земли. Установка подъемно-высыпная. Установка для сушки овощей, картофеля, моркови Установка сушильная фетровая Установка сухой очистки Установка калибровочная Линия по переработке , оборудование для очистки от земли, грязи, мойки, сушки, калибровки, фасовки картофеля, лука, моркови, свеклы, овощей фруктов Линия для очистки, мойки, калибровки Оборудование для мойки калибровки, расфасовки и упаковки овощей и фруктов Опрокидыватель контейнеров Бункер с подающим элеватором Почвоотделитель Машина для точной сортировки картофеля и лука по размеру Машина для мойки всех видов корнеплодов Автоматическая линия для упаковки моркови и овощей в полиэтиленовые пакеты Автоматический клипсатор для упаковки овощей и цитрусовых в сетку-рукав Автоматическая машина для упаковки картофеля Автоматическая машина для упаковки овощей в комбинированный мешок Автоматическая машина для упаковки овощей и фруктов в полиэтиленовые пакеты Автоматическая взвешивающая машина Полуавтоматический клипсатор для упаковки овощей и фруктов в сетку-рукав вязанную Оборудование для дозирования и упаковки в сетку-рукав Принтер для различных моделей Отводящий конвейер Ротационный стол Взвешивающая и упаковочная линия для моркови Двойной собирающий конвейер Универсальная машина для упаковки продукта в полиэтиленовые пакеты (пакеты намотаны в рулон) Автоматический упаковщик Автоматический двойной клипсатор Уборочные машины Сортировка Чистка Мойки Машина для обрезки лука и удаления шелухи Роликовый инспекционный стол Весовой дозатор Вальцевая сортировка – роликовая сортировка Бункер с транспортером Питающий бункер Загрузчик биг-бэгов Сортировочные столы для картофеля Отделитель земли Моечная машина Расфасовочные весы Упаковочно-расфасовочная линия (мешки) Роликовый сортировщик Калибровщик решётчатый Удалитель земли со спиральными роликами Тыквоуборочный комбайн Огурцеуборочный комбайн Лукоуборочный комбайн Томатоуборочный комбайн Экстрактор мешков Разгрузчики мешков Приставка для рапса
Морковоуборочный комбайн - комбайн для уборки моркови. Технология возделывания моркови. Овощная сеялка для моркови. Техника для уборки моркови.
www.kartoffeltechnik.ru Картофельная техника, катрофеле-сажалки, комбайны картофелеуборочные.
www.aquaspray.ru Оросительные системы катушечного типа Ocmis - Окмис Круговой, линейный, фронтальный, ипподромный полив RKD – РКД Капельный полив Netafim – Нетафим.
www.chesnok.info
Чеснок, технологии выращивания чеснока, уборка чеснока.
www.agromonitoring.ru
Системы параллельного вождения, курсоуказатели, точное вождение, технологии точного земледелия.
www.separ2000.com SEPAR 2000 Сепар — единственные в мире на сегодня топливные фильтры со 100%-ным по DIN ISO 4020 водоотделением и 96%-ным грязеотделением.
www.pumpkin.su
Технологии возделывания тыквы – тыквоуборочные комбайны, мойка семян тыквы, сушка
Доставка сельхозтехники и запасных частей, оросительных систем, насосов во все города России (быстрой почтой и транспортными компаниями), так же через дилерскую сеть: Москва, Владимир, Санкт-Петербург, Саранск, Калуга, Белгород, Брянск, Орел, Курск, Тамбов, Новосибирск, Челябинск, Томск, Омск, Екатеринбург, Ростов-на-Дону, Нижний Новгород, Уфа, Казань, Самара, Пермь, Хабаровск, Волгоград, Иркутск, Красноярск, Новокузнецк, Липецк, Башкирия, Ставрополь, Воронеж, Тюмень, Саратов, Уфа, Татарстан, Оренбург, Краснодар, Кемерово, Тольятти, Рязань, Ижевск, Пенза, Ульяновск, Набережные Челны, Ярославль, Астрахань, Барнаул, Владивосток, Грозный (Чечня), Тула, Крым, Севастополь, Симферополь, в страны СНГ:Киргизия, Казахстан, Узбекистан, Киргизстан, Туркменистан, Ташкент, Азербайджан, Таджикистан.